凱基特經過多年的工程和現場需求,開發了基于LORA、NB-IoT等多種通訊的工業無線網絡系統,為現場和控制室之間搭建起一座信息橋梁,讓您能在廣袤的地區和人員無法接近的區域實現全面監控。

○ 凱基特KJT-WN系列無線接近開關為您帶來了更多的便利
● 無需挖溝架線,線纜、人力成本和工程周期大大縮減。
● 簡化工程設計,減少設計人員的工作量(特別是線纜走向)。
● 受橋梁、河流、山川等自然地勢影響,線纜不能任意鋪設。
● 按照增加檢測點,迅速組建私有數據采集專網,擴容靈活方便。
● 故障出現時,檢測點較集中,消除以往沿線路巡查是所遇到的繁瑣事務。
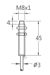
| 產品型號 | KJT-WN8 | |||||||||
| 安裝方式 | 齊平 | 非齊平 | ||||||||
| 感應距離 | 1mm | 2mm | ||||||||
| 產品尺寸 | M8 | |||||||||
| 適用標準 | EN 60947-5-2, EN 61000-6-2, EN 61000-6-3 | |||||||||
| 外殼 | 不銹鋼/PBT | |||||||||
| 操作頭 | 鋼板 8 x 8 x 1 mm, FE 360 | |||||||||
| 前蓋 | POM | |||||||||
| 后蓋 | POM | |||||||||
| 防護等級 | IP 67 符合 IEC/EN 60529 | |||||||||
| 連接類型 | 耦合 M12 x 1, 4-針,用于連接到無線通用發射器KJT-WDTC系列 | |||||||||
| 電纜長度 | 0.5 m, 1 m or 2 m | |||||||||
| 環境溫度 | -25℃ … +70℃ | |||||||||
| 額定絕緣電壓 | 75 VDC | |||||||||
| 額定工作電流 | 0.2 mA | |||||||||
| 額定工作電壓 | 3 … 5 VDC | |||||||||
| 磁滯現象 | 約 10 % | |||||||||
| 重復性 | ≤ 5 % | |||||||||
| 供電方式 | 電池/外接電源 | |||||||||
| 開關頻率 | see KJT-WDTC | |||||||||
| 修正系數 | Steel (Fe360) = 1; Stainless steel approx. 0.7; Brass approx. 0.5; Aluminium approx. 0.4; Copper approx. 0.4 | |||||||||
| 注釋 | The sensor may only be used in combination with KJT-WDTC | |||||||||



